梁体模板
RBCCE软件中可创建:简支梁和连续梁两种梁体模板对象。简支梁类型代表预制梁体,可采用平分中矢法架设;连续梁类型代表现浇梁体,可进行曲线梁型的模拟。
模型信息
设计提供的资料中,主要通过主梁纵断面、横断面及平面图来描述梁体的三维构造,其主要模型信息包括以下几个方面。
主梁基准截面
一个主梁模板需要用主梁上某一位置的横断面来作为其基准截面,基准截面用于描述截面底宽、截面梁宽、梁顶坡度、翼缘板尺寸及上梗肋、下梗肋尺寸等主梁所有截面相同的特征信息。箱型截面可以是单箱单室或单箱多室,腹板可以是直腹板也可以是斜腹板。 
箱型截面高程基准点
由于主梁截面顶部存在一定的横向坡度,故主梁截面的高程基准选择不同,截面高度和顶板厚度也是不同的。因此对于某个主梁模板,需要明确指定箱型截面顶部线的某一点为高程基准点,该点到截面底边的竖向距离表示这个主梁模板的截面高,该点到顶板底部线的距离表示这个主梁模板的顶板厚,设计给定的箱型截面高程基准位置,常见的有四种:
- 将箱型截面的最左上端点定义为基点。图中,A点为截面最左上点,该点到截面的底边的距离H1为截面高。
- 箱型截面的最右上端点定义为基点。图中,截面的最右上D点到截面的底边的距离为截面高H4;
- 距离截面最左端某一水平距离的截面顶边最低点定义为基点。图中,如B点为截面定边最低点,该点到截面最左端水平距离为a,到截面底边的距离为截面的高度H2。
- 截面顶边中心定义为基点 。图中,C点到截面的底边的距离为截面的高度H3。

截面基点位置确定后,相应的截面顶板厚度即为过基点的水平线与顶板底边的间距。
B点截面基点,则截面顶板厚度为0.411m
C为截面基点,则截面顶板厚度为0.49m

截面腹板厚度基准线
箱型截面的腹板厚度可能在高度方向发生变化,因此需要指明截面的哪一位置为腹板厚度,即明确腹板厚度基准。腹板厚度基准有两种情况: 
- 箱室内上梗肋下端位置:箱室内上梗肋下端水平线处的腹板厚度(为腹板的水平距离)
- 到截面中心顶的距离:指定一条距离截面中心顶的某一距离的水平线的腹板厚度的基准线
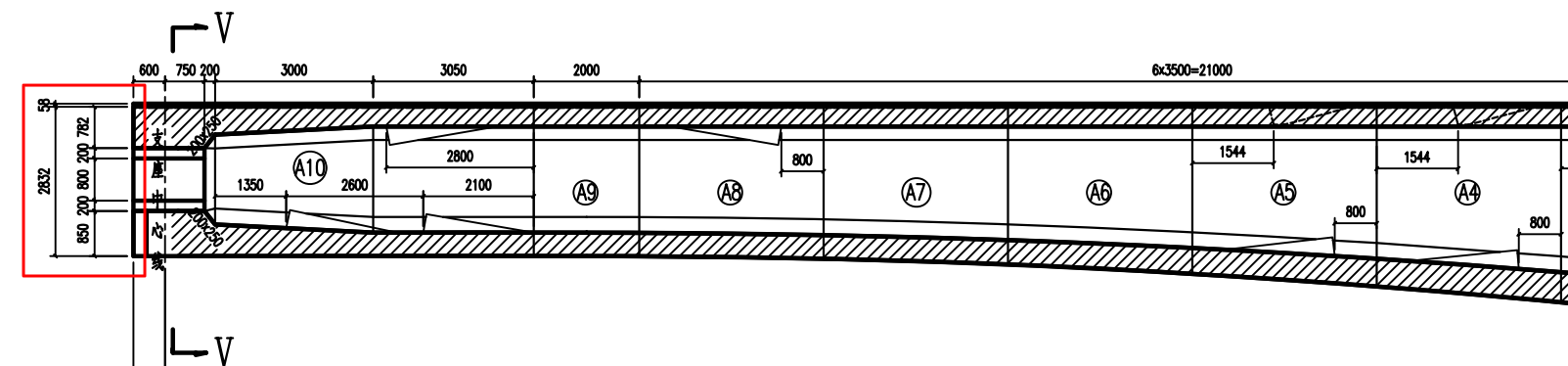
主梁纵断面
主梁纵断面图主要用来描述主梁各节段的节段长、截面高、顶板和底板厚。
主梁参数表,描述了梁体截面号、梁体节段号、节段长、截面高、顶板厚度、底板厚度、腹板厚度等尺寸信息 
主梁平面图
主梁腹板平面图用来反映主梁截面在各个截面位置的腹板厚度。 
模板创建
RBCCE提供了两种创建梁体模板的方法,参数法创建和强制转化法创建。
参数法
- 在软件图形操作页面内没有选中任何对象的情况下,点击软件“桥梁建模>梁体模板>梁体模板”按钮。

- 启动命令后,依据命令行提示,将初始“梁体模板”对象放置于图形操作页面内

- CAD导入或绘制该梁体对象的基准横断面,将其组合为一个几何图形,并点击“桥梁建模>梁体模板>梁体截面”按钮将其强制转化为主梁基准截面


提示
- 梁体典型横断面内、外轮廓必须为封闭轮廓
- 梁体典型横断面外轮廓底部倒角必须为直角
- 梁体典型横断面内轮廓必须为内八边型且全部为折线
- 梁体典型横断面内轮廓顶板线必须为水平折线
- 梁体典型横断面内轮廓不允许出现圆角
- 在图形页面内将创建的梁体模板和主梁基准截面放于同一矩形框中

- 激活“梁体模板”对象,在弹出的“梁体模板-属性与截面”对话框内,点击“框选截面替换”按钮,进行梁体模板基准截面替换

提示
- 此页面内可对梁体模板进行重命名等显示操作,也可修改梁体模板类型,包括创建等截面梁体模板对象。
- 梁体为等截面梁,则勾选"等截面"按钮,即可生成等截面梁体模板——输入的数据信息只有节段长起作用,其他信息无效,所有截面与典型截面一致。
- 在弹出的“梁体模板-主梁纵断面”对话框内,输入节段长、截面高、顶、底板厚和腹板厚等数据信息,再指定“截面高与顶板厚基准”和“腹板宽基准”,点击“确定”按钮即可生成梁体模板


提示
- 若提取的梁体截面与绘制的梁体截面腹板厚度不一致,首先检查“截面高与顶板厚基准”和“腹板宽位置”是否符合要求
- 若某个梁体节段倒角和基准截面不一致,可在某节段点击鼠标右键进行倒角修正


强制转化法
- CAD导入或绘制该梁体纵断面图、腹板平面图和基准横断面图
提示
将纵断面图、腹板平面图和基准横断面图分别组合为一个几何对象

- 分别选中纵断面图、腹板平面图和基准横断面图并通过点击“桥梁建模>梁体模板”操作面板上的“梁体模板、梁体平面和梁体截面”按钮,将几何图形转化为相应的模板对象

- 将三个模板对象放置于同一矩形框内,再激活“梁体模板”对象进行截面替换、模板名称、模板类型修改等操作


提示
- 梁体纵断面图和梁腹板平面图端部必须齐平且要求长度相等
- 梁体纵断面图和梁腹板平面图节段数要求必须一致且一一对应
- 梁体模板所有线段为折线——底部曲线以直代曲
- 强制转化的梁体模板必须提取主梁腹板宽度,以保证梁体顶、底、腹板厚度和实际梁体保持一致
- 梁体腹板平面图主要体现梁体腹板厚度变化,采用底剖面图即可满足要求
- 其余和参数法梁体横断面提示项一致
模板应用
梁体任意截面查询
可通过“创建箭头位置截面”按钮,查询梁体模板任意位置截面信息 
创建三维梁体
激活“梁体模板”对象,在弹出的“梁体模板-属性与截面”对话框内,点击“创建三维节段线”按钮,可依据“梁体模板”数据在新的页面内创建RBCCE中的三维模型 
然后依据创建的三维梁体再进行后续的三维操作,包括算量、后续的精细化模型创建和可视化交付应用
创建梁体立面图
激活“梁体模板”对象,在弹出的“梁体模板-属性与截面”对话框内,点击“创建立面图”按钮,可直接创建梁体立面图 
然后创建的梁体立面图,可进行临时结构计算等功能。
主梁平面(支座坐标计算)
激活“梁体模板”对象,在弹出的“梁体模板-支座平面”对话框内,输入梁体支座信息,最后在综合布置Ⅰ模型中可查询计算的支座坐标,也可直接创建梁体及支座的平面几何位置图 
提示
目前对简支梁模板可通过此页面计算支座坐标,连续梁支座坐标建议采用平面结构物放样计算支座坐标
节段组合定义
激活“梁体模板”对象,在弹出的“梁体模板-主梁纵断面”对话框内,点击“节段组合”按钮,可在弹出的“节段组合”对话框中依据设计资料修改节段类型以方便后续模型对象的操作 

